John Deere 180 Mower Deck : The video shows the repair of the blades, greasing of the spindles and painting of a john deere mower deck.

John Deere 180 Mower Deck : The video shows the repair of the blades, greasing of the spindles and painting of a john deere mower deck.. John deere l130 48 mower deck parts rebuild kit spindles, blades, belts, idlers. John deere riding lawn mower 180, deck is present but is not attached,was used as yard cart. Genuine john deere 14pb 14sb 14se jx7 21 lawn mower silver housing deck gc90039. Mower deck and mower deck attachments: High quality product made to exceed your expectations.

Genuine john deere 14pb 14sb 14se jx7 21 lawn mower silver housing deck gc90039. Wiring diagram for john deere riding lawn mower collection. John deere l130 parts, john deere lawn mower, john deere lawn tractor, john deere mower, john deere parts, deere d170 parts. Mower deck and mower deck attachments: What decks interchange deere 260.

John Deere 54" mower deck w/bagger and more - $1200 ...
John Deere 54" mower deck w/bagger and more - $1200 ... from storage.bhs.cloud.ovh.net
Genuine john deere 14pb 14sb 14se jx7 21 lawn mower silver housing deck gc90039. I've tryed a new mower belt and made sure my routing was correct. Find great deals on ebay for john deere 180 deck. John deere riding lawn mowers garden tractors price parts specs review warranty engine transmission system 1 2021 john deere lawn mowers tractors prices, attachments, specifications. John deere 180 mower deck troubleshooting. Get the best deals on john deere lawnmower decks. When people were buying the 180 brand new, they had a choice of 2 mower decks; The john deere 180 garden tractor was produced from 1986 to 1990.

Bagging mower blade (42c mower) for lx, gt and gx tractors.

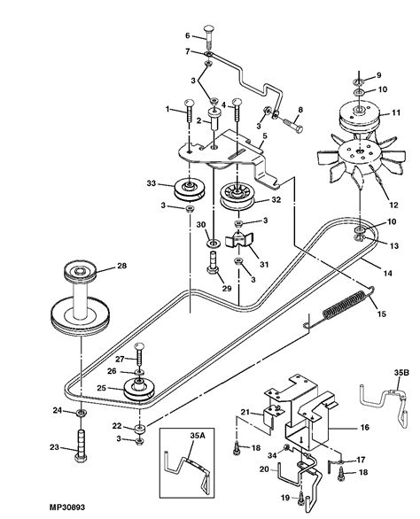
You can change a john deere la 175 mower deck belt configuration by checking the diagrams and instructions in the owner's or manufacturer's manual basically. Search huge inventory of tractor parts, lawnmower parts, blower parts, engine parts and ship it today! This is a genuine john deere part. Fuel diagnostics guide for john deere 8400. Wiring diagram for john deere riding lawn mower collection. Hey, i got this lt180 mower used and it's has a 48 mower deck. I've tryed a new mower belt and made sure my routing was correct. Buy genuine oem john deere parts. John deere lawn mowers operator's manual pdf. I currently have a john deere 260 with a 46 deck and a power flo bagger. Bagging mower blade (42c mower) for lx, gt and gx tractors. John deere l130 48 mower deck parts rebuild kit spindles, blades, belts, idlers. This john deere riding lawn mower is assembled in the usa at a greenville, tn plant.

John deere 180 mower deck troubleshooting. I currently have a john deere 260 with a 46 deck and a power flo bagger. This john deere riding lawn mower is assembled in the usa at a greenville, tn plant. The john deere 180 lawn mower is an upgrade from the john deere 170 mower. John deere lt150 160 170 180 lawn garden tractor pdf.

JOHN DEERE 46" Mower Deck 180 185 240 245 260 265 285 320 ...
JOHN DEERE 46" Mower Deck 180 185 240 245 260 265 285 320 ... from www.picclickimg.com
John deere l130 48 mower deck parts rebuild kit spindles, blades, belts, idlers. Search huge inventory of tractor parts, lawnmower parts, blower parts, engine parts and ship it today! John deere lawn mowers operator's manual pdf. John deere 265 mower deck belt diagram. The john deere 180 lawn mower is an upgrade from the john deere 170 mower. I currently have a john deere 260 with a 46 deck and a power flo bagger. Mower deck and mower deck attachments: John deere l130 parts, john deere lawn mower, john deere lawn tractor, john deere mower, john deere parts, deere d170 parts.

Get the best deals on john deere lawnmower decks.

John deere 265 mower deck belt diagram. High quality product made to exceed your expectations. Mower deck and mower deck attachments: The video shows the repair of the blades, greasing of the spindles and painting of a john deere mower deck. Mower deck spindle fits john deere am144377 lt180 lt190 lx280 lx289 gx325 gx335. The john deere 180 garden tractor was produced from 1986 to 1990. Fits jd d series lawn tractors. Genuine john deere 14pb 14sb 14se jx7 21 lawn mower silver housing deck gc90039. The john deere e180 model riding lawn mower includes a 54″ cutting deck and a 25hp john deere branded engine. John deere l130 48 mower deck parts rebuild kit spindles, blades, belts, idlers. We offer a wide range of deals on john deere mowers as well as specials from a whole users can choose either a 60 or 72 cutting deck depending on their needs. 42 mower deck rebuild kit john deere la115 100 series spindles blades 114. I currently have a john deere 260 with a 46 deck and a power flo bagger.

Make sure you have access to your tractor serial number, because there is a chance that the john deere 180 parts you need depend on that serial number. John deere mower decks deliver a great cut. I've tryed a new mower belt and made sure my routing was correct. John deere lt150 160 170 180 lawn garden tractor pdf. What decks interchange deere 260.

John Deere 160 165 170 108 111 112L 130 175 180 185 38 ...
John Deere 160 165 170 108 111 112L 130 175 180 185 38 ... from i.ebayimg.com
High quality product made to exceed your expectations. John deere lawn mowers operator's manual pdf. Get the best deals on john deere lawnmower decks. Buy genuine oem john deere parts. Find great deals on ebay for john deere 180 deck. Looking for john deere parts? This is a genuine john deere part. The john deere e180 model riding lawn mower includes a 54″ cutting deck and a 25hp john deere branded engine.

John deere lawn mowers operator's manual pdf.

This john deere riding lawn mower is assembled in the usa at a greenville, tn plant. Needs jump start, unknown working condition, tires appears in good shape, engine turns over, does not steer, linkage is frozen. Hey, i got this lt180 mower used and it's has a 48 mower deck. My problem is when i disengage the pto the belt always comes off the spindles. The same 46deck was also used on the 180/185/116. Search huge inventory of tractor parts, lawnmower parts, blower parts, engine parts and ship it today! John deere 180 mower deck troubleshooting. One with a 38 inch mid mounted mower deck or a rear mounted mowing deck that is 46 inches wide. 42 mower deck rebuild kit john deere la115 100 series spindles blades 114. A variety of mower decks, with cutting widths from 107cm to 137 cm, give excellent mowing performance in even the most challenging mowing conditions. John deere lt150 160 170 180 lawn garden tractor pdf. The john deere 48 mower deck belt pattern diagram can be obtained from most john deere dealerships. When people were buying the 180 brand new, they had a choice of 2 mower decks;

Wiring diagram for john deere riding lawn mower collection john deere 180 deck. (don t forget to subscribe!!!) if you enjoy.

Posting Komentar

0 Komentar